PhilipsToSignify

Le catalogue officiel d'éclairage Philips change de toit !..

En tant que fabricant des produits d’éclairage Philips, Signify.com héberge désormais l'ensemble du catalogue d'éclairage Philips, ainsi que de Dynalite et d'autres marques de Signify.

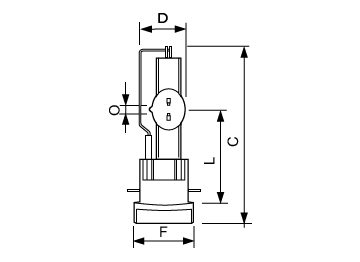
Philips MSR Gold 575/2 MiniFastFit 1CT/4

Description du produit

Philips MSR Gold 575/2 MiniFastFit 1CT/4

Code de commande: 928184005115
Code de commande complet: 871829122109800

Caractéristiques

  • Culot
    PGJX28
  • Position de fonctionnement
    UNIVERSEL [Libre ou universelle (U)]
  • Durée de vie à 50 % de mortalité (nom.)
    750 h

Téléchargements